91短视频免费版股份

咨询服务热线: 15222906608
仪表电缆自动化成套 压力91短视频免费下载\差压91短视频免费下载\温度91短视频免费下载\液位91短视频免费下载等
banner

热门关键字:

全国服务热线

15222906608
李哥单晶硅压力91短视频免费下载参与传感器中国2019

李哥单晶硅压力91短视频免费下载参与传感器中国2019

传感器中国,亚洲传感器产业的盛会,将于9月2日至4日开幕。传感器中国将与全球合作伙伴携手,关注产业趋势,分享传感器和物联网领域的新技术和创新...
LEEG 压力91短视频免费下载3月份产量同比增长48.5%!

LEEG 压力91短视频免费下载3月份产量同比增长48.5%!

在政府部门的科学指导和李哥同事的共同努力下,李哥3月份单晶硅压力91短视频免费下载产量同比增长48.5%,为2020年持续增长奠定了良好基础! 这场突发的流行病严...
干货来了:压力型安装注意事项液位91短视频免费下载(也称为输入型液位91短视频免费下载)

干货来了:压力型安装注意事项液位91短视频免费下载(也称为输入型液位91短视频免费下载)

1.压力公式液位91短视频免费下载不能用于超高温、超量程和强磁场环境,严重影响液位计的精度和使用寿命。 2.测量静态水位时,水位计应扔在容器底部,但不要接...
解决4~20mA91短视频免费下载常见故障的四项措施!以及8大类24种故障分析和解决方案!

解决4~20mA91短视频免费下载常见故障的四项措施!以及8大类24种故障分析和解决方案!

在工业中,4~20mA电流被广泛用于传输模拟量。本文总结了4~20mA91短视频免费下载的四种典型故障及其解决方法,有助于91短视频免费版快速排除产品故障,正常使用模拟91短视频免费下载产...
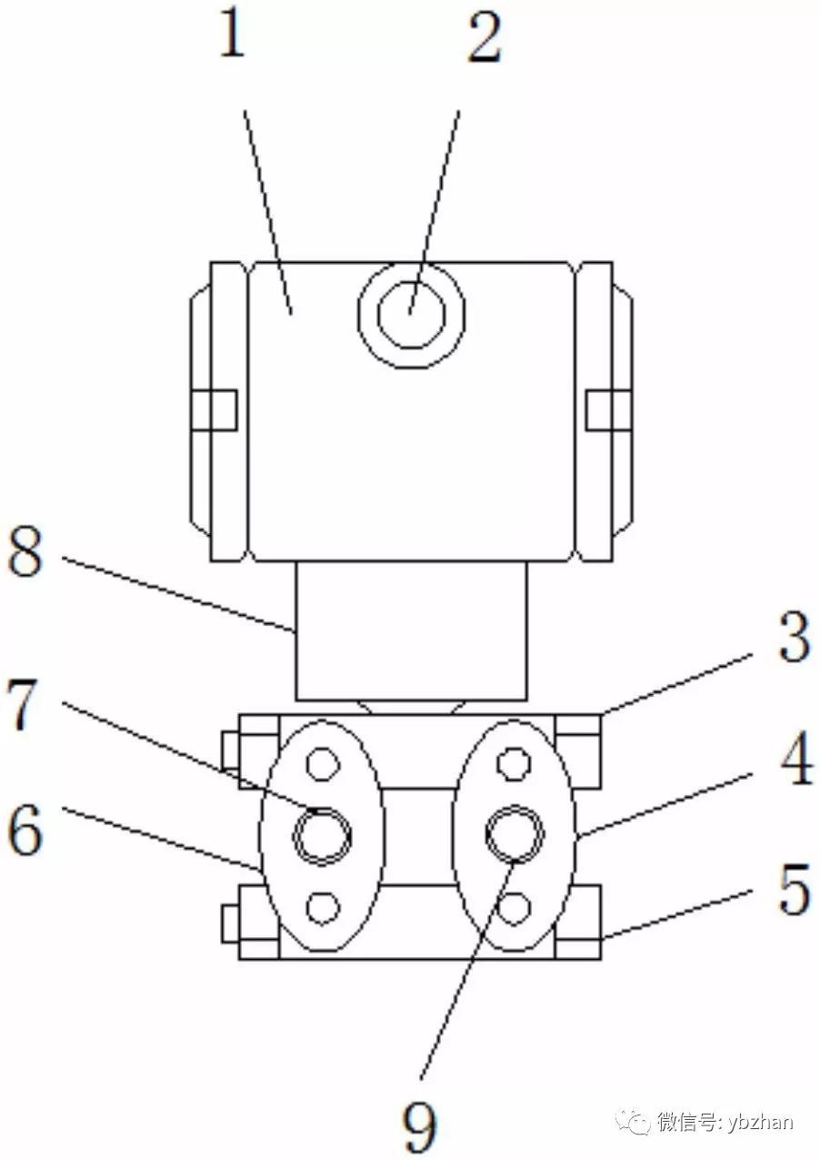
本发明涉及一种智能91短视频免费下载

本发明涉及一种智能91短视频免费下载

创造力是无限的,仪器是伟大的发明。今天,我介绍一项国家发明专利——智能发射器。该专利由江苏菲尔德自动化仪器有限公司申请,并于2018年7月24日公...
战争流行病记录压力91短视频免费下载销售服务物品

战争流行病记录压力91短视频免费下载销售服务物品

上海瑞格仪器(LEEG)是单晶硅压阻技术压力91短视频免费下载的专业制造商,拥有超过15年的产品制造经验和数十万的产品应用经验。它具有传感器制造技术、传输模块...
网站地图